正值《中华人民共和国招标投标法》颁布施行25周年之际,为进一步规范服装招标采购秩序,树立诚信标杆典范,引导行业健康持续发展,中国采购与招标网、中国名企排行网组织开展了“2025(第5届)服装招标采购评价推介活动”。该活动历时2个多月,历经企业申报、资料提交、数据核对、综合评审等阶段,依据服装招标投标大数据及科学合理的综合评价法,遴选出“2025职业装十大领军品牌”。本次评价推出的这个榜单将成为招标采购人在比选职业装时的重要参考依据。

500)this.width=500 align=center hspace=10 vspace=10 alt=“2025职业装十大领军品牌”榜单发布>
500)this.width=500 align=center hspace=10 vspace=10 alt=“2025职业装十大领军品牌”榜单发布
一是企业资质与综合实力。包括行业经验与品牌积淀、生产规模与智能化水平、认证与标准制定等。企业需具备长期深耕职业装领域的经验,并通过技术积累形成品牌优势。大规模生产基地和先进设备是保障产能与质量的关键。需通过ISO9001质量管理体系、绿色工厂认证等,部分企业参与国家标准制定。如:浙江乔治白服饰股份有限公司参与多项职业装国家标准起草。罗蒙集团股份有限公司连续多年获得“中国西服行业标志性品牌”称号,并成为国家级非物质文化遗产传承基地。
二是产品创新与技术研发。包括智能化与功能性设计、绿色科技与材料创新、文化赋能与美学设计等。融合AI、物联网等技术提升产品性能。如部分品牌通过AI算法优化版型适配度,使定制生产效率提升30%。生物基面料、汉麻纤维等环保材料的应用成为趋势。新中式美学与国际时尚的结合。如罗蒙集团股份有限公司将红帮裁缝工艺与现代设计结合,推动“新中式美学”出海。
三是市场表现与客户覆盖。包括销售额与中标记录、客户覆盖广度、国际化布局等。销售额和政府采购占比是重要指标。如罗蒙集团股份有限公司男西装年销量全国前三,服务对象涵盖政府、央国企、跨国企业等,通过“一带一路”订单推动中国设计标准出海。
四是服务能力与售后保障。包括全流程定制服务、售后响应与网络覆盖等。提供量体、设计、生产、售后一Pg电子平台网址站式解决方案。全国性服务网络和快速响应机制是关键。
五是可持续发展与社会责任。包括绿色生产与碳减排、应急保障与社会贡献等。企业需践行低碳战略。社会责任履行能力是重要指标。如江苏澳洋纺织实业有限公司通过绿色供应链管理减少碳足迹。

500)this.width=500 align=center hspace=10 vspace=10 alt=“2025职业装十大领军品牌”榜单发布>
500)this.width=500 align=center hspace=10 vspace=10 alt=“2025职业装十大领军品牌”榜单发布
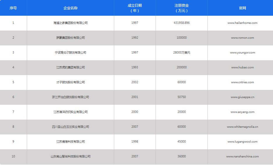
以下是中国采购与招标网、中国名企排行网对“2025职业装十大领军品牌”的详细介绍。
公司主品牌围绕“创造有生命力的服饰、服务每个人的光采”的品牌价值理念,集聚品牌势能、加码产品创新、提升产业链效率,不断强化消费者对于公司的品牌认知,致力于成为大众追随的超级国民品牌。
公司以清晰连贯的产品设计理念,坚持科技创新,传承中华优秀文化,持续打造爆款产品,为消费者提供更好的产品和体验。聚焦产品核心功能,以科技赋能,打造拳头产品系列。优化商圈布局,提升运营质效,积极拓展海外新市场。
公司团购定制汇聚集团多元专业基因与优势资源,在智造技术、质量标准、数字生产等方面苦练内功,提升核心竞争力,用更具审美的产品、更为智能的生产、更为贴心的服务,夯实职业装领军地位。
公司始创于1978年,是一家以设计、研发、生产、销售中高档男女西服、衬衫、职业装等系列服饰为主的国内知名服装企业,现有高素质员工万余名,品牌价值超100亿元,拥有专业化西服生产流水线及配备专业衬衫、女装生产流水线年,“罗蒙”牌男西装、衬衫年销售量均位于全国前3位。
公司是首批国家部优产品、首届中国服装十大品牌,累计创造了中国服装界的15项第一。连年跻身全国销量、利税双百强服装企业行列,先后被评选为国家级“守合同重信用企业”、“中国民营企业500强”、“中国制造企业500强”、“中国职业装领军企业”。罗蒙品牌连续多年荣获“中国西服行业标志性品牌”和“国家工信部、中纺联重点跟踪培育品牌”等。
在2018年3月30日中国市场商品销售统计结果新闻发布会中,罗蒙牌男西装市场综合占有率荣膺连续20年销售领先。2021年5月罗蒙品牌入选“2021中国纺织服装品牌竞争力优势企业名单”。2022年5月罗蒙荣获“2021年度中国消费品市场销售领先品牌”,并荣登“30年连续20年及以上中国消费品市场销售领先品牌”。2023年4月荣获“市场销售领先品牌”。2023年11月罗蒙获评为“国家级非物质文化遗产生产性保护示范基地”。
公司创建于1979年,总部位于东海之滨的浙江省宁波市,是全国纺织服装行业龙头企业。2024年度实现销售收入1646亿元,利润总额38亿元,实缴税收21亿元。位居中国民营企业500强第36位。截止2024年底,雅戈尔集团总资产980亿元,净资产449亿元。旗下雅戈尔时尚股份有限公司于1998年11月19日在上海证券交易所挂牌上市,股票代码:600177,股票简称:雅戈尔。经过46年的发展,公司已形成以时尚产业为核心,多元并进、专业化发展的综合性国际化企业集团。下设时尚品牌、商业(新)零售、国际贸易、产业投资四大板块。
46年来公司始终把打造国际品牌作为企业发展的目标,围绕转型升级、科技创新,砥砺前行,确立了高档品牌服饰的行业龙头地位,品牌价值405.89亿元,男衬衫品类连续28年获得全国市场综合占有率第一,男西服品类连续25年获得全国市场综合占有率第一。
公司创建于1989年,拥有120家分公司,涉及服装、房地产、商贸、金融等行业,有员工5000余名,各类专业技术人员680人,年销售额达40亿元以上,其中内外销服装销售额达31亿元以上,荣列江苏省文明单位等奖项。
公司秉承“发展”的理念,与时俱进,主导产品“虎豹”牌衬衫、西服、休闲服等,凭借其品质,先后获得多项大奖。虎豹产品销往中国31个省市区,并远销英国、日本、俄罗斯、意大利、德国、法国、韩国等地。
公司创建于1983年,总部坐落于福建莆田,是一家集研发、设计、生产、销售为一体的男装品牌企业。公司现有才子创意园和才子智造园两大产业园区、6大工厂、34条服装专业生产线,引进数千台国际先进自动化生产设备,年生产能力1000多万件(套),产品涵盖衬衫、T恤、毛衫、西服、西裤、休闲裤、茄克、羽绒服等全系列服装。公司以打造中国文化品牌为己任,坚定文化自信,做强品质传承,推行“穿才子、真才子”,全力打造时尚精品,在全球布局9大研发创意中心,在全国各省市自治区拥有2000多家门店。
公司以弘扬中国文化为己任,改“潮”换代、推“潮”出新,活跃在国际舞台上,全力打造时尚精品。央视广告语“煮酒论英雄、才子赢天下”深入人心,获得2003年“中国十大广告语”。才子凭借优秀品质和文化内涵赢得了广大消费者的喜爱。
公司成立于1995年,是一家集商务职业装、校服、休闲服等系列服装的研发、设计、生产、销售为一体的服饰公司,以B2B定制模式为主,服务于各企事业单位。
公司先后荣获“中国名牌产品”、“中国驰名商标”、“中国职业装十大领军企业”、“最具专注力服装品牌”、“中国西服(含衬衫)十强企业”、“全国百佳质量诚信标杆示范企业”、“全国售后服务行业十佳单位”、“全国服装标准化工作先进单位”、“国家级守合同重信用企业”、“国家级绿色工厂”、“国家级绿色供应链管理企业”、“浙江省智能工厂(数字化车间)”、“浙江省服务型制造示范企业”、“浙江省企业技术中心”、“浙江省企业研究院”、“浙江省商标品牌示范企业”等荣誉。也是行业内唯一一家同时参与9项国家标准、1项行业标准、多项团体标准起草的单位。
公司通过独创的“全线迁移”模式,相继完成浙江、河南、云南3大生产基地和上海商务运营及物流中心的建设及运营;智能工厂通过自建数字中心,实现业务数据化、数据网络化、平台智能化。每年投入大量的研发经费,对工艺、技术进行革新。拥有多个服装设计团队,并建有“省级高新技术企业研究开发中心”“浙江省企业研究院”“乔治白检测中心(CNAS)”等多个机构,先后研发EEQ分子交叉记忆、T+绕扣等工艺技术。公司年增IE技术成果数十项,累计发明专利10余项,实用新型及外观专利百余项。
公司成立于1998年,是一家跨地区、多元化的大型民营企业集团,旗下拥有子孙公司30余家、员工5000余人。公司产业以大健康为主体,绿色生态和纺织服装为两翼,涉足医疗服务、健康管理、康复护理、养老养生、医药流通、园林绿化、生态修复、毛纺生产、服装制造、产业投资等领域,产业分布全国30个省区市,连续多年入围中国民营企业500强。
公司成立于2007年,系五粮液集团全资子公司,是西南地区集设计、研发、生产、销售于一体的现代化国有全资控股服装企业、全国服装标准化技术委员会成员,连续多年位列中国服装行业百强企业,获企业售后服务高级别“CTEAS售后服务十二星级”认证。
公司持续关注高科技、高效能和高质量发展“三要素”,打造国内重要服装生产基地5G绿色智慧工厂,可年产各类服装上千万件,涵盖军品被装、公检法等制式服装、劳动防护服、行政制服、酒店制服等团体定制服装、冲锋服、速干衣等户外运动服装以及各类校服。
公司是中石油集团能源一号网入库供应商,西南地区唯一一家五星级标准校服生产基地,迪桑特、艾高等知名户外品牌长期合作伙伴,与中国军队、武警部队、公检法、金融、税务、能源、烟草、航空等领域企事业单位长期保持稳定合作,深受客户信赖。
公司始建于1998年,是一家以针织纱、精纺面料及服装设计、加工、生产、销售为一体的国家现代化大型企业。目前产品远销海内外,国内主要客户群体有国有企事业单位,金融系统、航空系统、通信系统、电力系统、执法系统等,是“国家重点培育和发展的国际知名品牌”、获得国家驰名商标称号,在行业内“鹿港”牌职业装已获得认可,并取得了良好的信誉和口碑。
公司拥有世界上最先进的德国ZINSER(青泽)451细纱机,50000锭紧密纺设备,从条染、纺纱、织造、后整理和检验检测设备95%都由德国、意大利和日本进口。是国内唯一一家能生产110支以上全羊绒面料的企业。汇聚了全球顶尖的成衣制造设备,先后引进了国际最先进的美国“格博”CAD辅助设计系统、瑞典“ETON”智能吊挂式生产系统,德国“杜克普”缝制系统、意大利“迈埤”整烫系统。一直秉承“用世界级的产品品质服务于每一位客户”的理念,对每道工序都制定了严苛的操作规程和质量管控,成衣质量和生产效率有充分保证。
公司由中国500强企业南山集团控股,是高新技术企业、国家制造业单项冠军,持有“南山”“缔尔玛”两个中国驰名商标,注册资本3.6亿元。是全球为数不多的毛纺织服装产业链一体化公司,主营业务涵盖精纺呢绒及服装产品的研发、设计、生产与销售。公司综合装备实力位居同行业先进水平,是领先的大型精纺紧密纺面料和现代化西服生产基地。
公司是国家级高新技术企业、纺织技术创新示范企业,拥有“国际羊毛创新中心”、“北服·南山中国职业装研究院”等多个高水平创新平台。已获专利86项,各级科技进步奖16项、中国纺织行业专利奖3项。参与制定了多项纺织领域技术标准,其中国家标准8、行业标准4项、团体标准14项、海关贸易标准4项。
扫一扫关注微信